您当前的位置:首页 / 产品中心 / 管道泵系列 / ISW型不锈钢卧式管道泵|不锈钢单级离心泵
产品详情
卧式管道泵概述
ISW型卧式管道泵,是上海正精科技人员联合国内水泵专家选用国内优秀水力模型,采用IS型离心泵之性能参数,在一般卧式泵的基础上进行巧妙组合设计而成,同时根据使用温度、介质等不同在ALG型基础上派生出适用热水、高温耐腐蚀化工泵、油泵。该系列卧式管道泵产品具有高效节能、噪音低、性能可靠等优点,符合新国家机械部JB/T53058-93的标准要求,产品按国际ISO2858标准设计制造。
卧式管道泵型号意义

卧式管道泵主要用途
1、ISW卧式清水泵,供输送清水及物理化学性质类似于清水的其它液体之用,适用于工业和城市给排水、高层建筑增压送水、园林喷灌、消防增压、远距离输送、暖通制冷循环、浴室等冷暖水循环增压及设备配套,使用温度T≤80℃。
2、ISWR卧式热水泵,广泛适用于:冶金、化工、纺织、造纸以及宾馆饭店等锅炉热水增压循环输送及城市采暖系统,ALWR型使用温度T≤120℃。
3、ISWH卧式化工泵,供输送不含固体颗粒,具有腐蚀性。粘度类似于水的液体,适用于石油、化工、冶金、电力、造纸、食品、制药和合成纤维等部门,使用温度为-20℃~+120℃。
4、ISWY卧式管道油泵,供输送汽油、煤油、柴油等油类产品或易燃、易爆液体,被输送介质温度为-20℃~120℃。
5、ISWHY型卧式不锈钢防爆化工离心泵,适用于输送易燃性化工液体。
6、ISWD卧式低转速泵,适应要求环境噪声很低的场合,使用温度T≤120℃。
卧式管道泵工作条件
1.吸入压力≤1.0MPa,或泵系统高工作压力≤1.6MPa,即吸入口压力+泵扬程≤1.6MPa、泵静压试验压力为≤2.5MPa,订货时请注明系统工作压力。泵系统工作压力大于1.6MPa时应在订货时另行提出,以便在制造时泵的过流部分和联接部分采用铸钢材料。
2.环境温度<40℃,相对湿度<40%。
3.所输送介质中固体颗粒体积含量不超过单位体积的0.1,粒度<0.2mm。
注:如果用介质为带有细小颗粒,请在订货时说明,以便厂家采用耐磨式机械密封。
卧式管道泵特点
运行平稳:泵轴的绝对同心度及叶轮优异的动静平衡,保证平稳运行,绝无振动。
滴水不漏:不同材质的硬质合金密封,保证了不同介质输送均无泄漏。
噪音低:两个低噪音轴承支撑下的水泵,运转平稳,除电机微弱声响,基本无噪音。
故障率低:结构简单合理,关键部分采用国际一流品质配套,整机无故障工作时间大大提高。
维修方便:更换密封、轴承,简易方便。
占地更省:出口可向左、向右、向上三个方向,便于管道布置安装,节省空间。
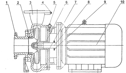
卧式管道泵结构图
| 1 | 吸入室:采用优秀水力模型设计而成。 |
2 | 叶 轮:采用优秀水力模型设计而成,高效节能。 | |
3 | 泵 体:采用优秀水力模型设计而成。 | |
4 | 取压塞:安装压力表及真空表,以监控泵的正常高效运行。 | |
5 | 放气塞:确保泵的正常维护。 | |
6 | 机械密封:采用不锈钢、硬质合金、氟橡胶等材料制成,耐用消费品磨损,无泄漏,运行寿命长。 | |
7 | 泵 盖: | |
8 | 泵 轴:为电机加长轴,确保了轴的同心,使运行平稳,无噪音和振动现象。 | |
9 | 挡水圈:防止因密封漏水而使电机进水。 | |
10 | Y系列电动机:直接与水泵联接传递动力,部分采用上海名牌电机。 |
| 型号 | 口径 | 流量 | 扬程 | 效率 | 转速 | 电机功率 | 必需汽蚀余量 | |
| mm | m3/h | L/S | m | % | r/min | KW | (NPSH)r | |
| 15-80 | 15 | 1.1 1.5 2.0 | 0.3 0.42 0.55 | 8.5 8 7 | 26 34 34 | 2800 | 0.18 | 2.3 |
| 20-110 | 20 | 1.8 2.5 3.3 | 0.5 0.69 0.91 | 16 15 13.5 | 25 34 35 | 2800 | 0.37 | 2.3 |
| 20-160 | 20 | 1.8 2.5 3.3 | 0.5 0.69 0.91 | 33 32 30 | 19 25 23 | 2900 | 0.75 | 2.3 |
| 25-110 | 25 | 2.8 4 5.2 | 0.78 1.11 1.44 | 16 15 13.5 | 34 42 41 | 2900 | 0.55 | 2.3 |
| 25-125 | 25 | 2.8 4 5.2 | 0.78 1.11 1.44 | 20.6 20 18 | 28 36 35 | 2900 | 0.75 | 2.3 |
| 25-125A | 25 | 2.5 3.6 4.6 | 0.69 1.0 1.28 | 17 16 14.4 | 35 | 2900 | 0.55 | 2.3 |
| 25-160 | 25 | 2.8 4 5.2 | 0.78 1.11 1.44 | 33 32 30 | 24 32 33 | 2900 | 1.5 | 2.3 |
| 25-160A | 25 | 2.6 3.7 4.9 | 0.12 1.03 1.36 | 29 28 26 | 31 | 2900 | 1.1 | 2.3 |
| 型号 | 口径 | 流量 | 扬程 | 效率 | 转速 | 电机功率 | 必需汽蚀余量 | |
| mm | m3/h | L/S | m | % | r/min | KW | (NPSH)r | |
| 32-100(I) | 32 | 4.4 6.3 8.3 | 1.22 1.75 2.32 | 13.2 12.5 11.3 | 48 54 53 | 2900 | 0.75 | 2.0 |
| 32-125 | 32 | 3.5 5 6.5 | 0.97 0.39 1.8 | 22 20 18 | 40 44 42 | 2900 | 0.75 | 2.3 |
| 32-125A | 32 | 3.1 4.5 5.8 | 0.86 1.25 1.61 | 17.6 16 14.4 | 43 | 2900 | 0.55 | 2.3 |
| 32-160(I) | 32 | 4.4 6.3 8.3 | 1.22 1.75 2.32 | 33.2 32 30.2 | 34 40 42 | 2900 | 2.2 | 2.0 |
| 32-200(I) | 32 | 4.4 6.3 8.3 | 1.22 1.75 2.32 | 50.5 50 48 | 26 33 35 | 2900 | 4 | 2.0 |
| 32-200A | 32 | 2.8 4 5.2 | 0.78 1.11 1.44 | 44.6 44 42.7 | 34 40 42 | 2900 | 2.2 | 2.0 |
| 型号 | 口径 | 流量 | 扬程 | 效率 | 转速 | 电机功率 | 必需汽蚀余量 | |
| mm | m3/h | L/S | m | % | r/min | KW | (NPSH)r | |
| 40-100 | 40 | 4.4 6.3 8.3 | 1.22 1.75 2.31 | 13.2 12.5 11.3 | 48 54 53 | 2900 | 0.55 | 2.3 |
| 40-100A | 40 | 3.9 5.6 7.4 | 1.08 1.56 2.06 | 10.6 10 9 | 52 | 2900 | 0.37 | 2.3 |
| 40-125 | 40 | 4.4 6.3 8.3 | 1.22 1.75 2.31 | 21 20 18 | 41 46 43 | 2900 | 1.1 | 2.3 |
| 40-125A | 40 | 3.9 5.6 7.4 | 1.08 1.56 2.06 | 17.6 16 14.4 | 40 45 41 | 2900 | 0.75 | 2.3 |
| 40-160 | 40 | 4.4 6.3 8.3 | 1.22 1.75 2.31 | 33 32 30 | 35 40 40 | 2900 | 2.2 | 2.3 |
| 40-160A | 40 | 4.1 5.9 7.8 | 1.14 1.64 2.17 | 29 28 26.3 | 34 39 39 | 2900 | 1.5 | 2.3 |
| 40-160B | 40 | 3.8 5.5 7.2 | 1.06 1.53 2.0 | 25.5 24 22.5 | 34 38 37 | 2900 | 1.1 | 2.3 |
| 40-200 | 40 | 4.4 6.3 8.3 | 1.22 1.75 2.31 | 51 50 48 | 26 33 32 | 2900 | 4 | 2.3 |
| 40-200A | 40 | 4.1 5.9 7.8 | 1.14 1.64 2.17 | 45 44 42 | 26 31 30 | 2900 | 3 | 2.3 |
| 40-200B | 40 | 3.7 5.3 7.0 | 1.03 1.47 1.94 | 38 36 34.5 | 29 | 2900 | 2.2 | 2.3 |
| 40-250 | 40 | 4.4 6.3 8.3 | 1.22 1.75 2.31 | 82 80 74 | 24 28 28 | 2900 | 7.5 | 2.3 |
| 40-250A | 40 | 4.1 5.9 7.8 | 1.14 1.64 2.17 | 72 70 65 | 24 28 27 | 2900 | 5.5 | 2.3 |
| 40-250B | 40 | 3.8 5.5 7.0 | 1.06 1.53 1.94 | 61.5 60 56 | 23 27 26 | 2900 | 4 | 2.3 |
| 型号 | 口径 | 流量 | 扬程 | 效率 | 转速 | 电机功率 | 必需汽蚀余量 | |
| mm | m3/h | L/S | m | % | r/min | KW | (NPSH)r | |
| 40-100(I) | 40 | 8.8 12.5 16.3 | 2.44 3.47 4.53 | 13.2 12.5 11.3 | 55 62 60 | 2900 | 1.1 | 2.3 |
| 40-100(I)A | 40 | 8 11 14.5 | 2.22 3.05 4.03 | 10.6 10 9 | 60 | 2900 | 0.75 | 2.3 |
| 40-125(I) | 40 | 8.8 12.5 16.3 | 2.44 3.47 4.53 | 21.2 20 17.8 | 49 58 57 | 2900 | 1.5 | 2.3 |
| 40-125(I)A | 40 | 8 11 14.5 | 2.22 3.05 4.03 | 17 16 14 | 57 | 2900 | 1.1 | 2.3 |
| 40-160(I) | 40 | 8.8 12.5 16.3 | 2.44 3.47 4.53 | 33 32 30 | 45 52 51 | 2900 | 3 | 2.3 |
| 40-160(I)A | 40 | 8.2 11.7 15.2 | 2.28 3.25 4.22 | 29 28 26 | 44 51 50 | 2900 | 2.2 | 2.3 |
| 40-160(I)B | 40 | 7.3 10.4 13.5 | 2.38 2.89 3.75 | 23 22 20.5 | 50 | 2900 | 1.5 | 2.3 |
| 40-200(I) | 40 | 8.8 12.5 16.3 | 2.44 3.47 4.53 | 51.2 50 48 | 38 46 46 | 2900 | 5.5 | 2.3 |
| 40-200(I)A | 40 | 8.3 11.7 15.3 | 2.31 3.25 4.25 | 45.0 44 42 | 37 45 45 | 2900 | 4 | 2.3 |
| 40-200(I)B | 40 | 7.5 10.6 13.8 | 2.08 2.94 3.83 | 37 36 34 | 44 | 2900 | 3 | 2.3 |
| 40-250(I) | 40 | 8.8 12.5 16.3 | 2.44 3.47 4.53 | 81.2 80 77.5 | 31 38 40 | 2900 | 11 | 2.3 |
| 40-250(I)A | 40 | 8.2 11.6 15.2 | 2.28 3.22 4.22 | 71.0 70 68 | 38 | 2900 | 7.5 | 2.3 |
| 40-250(I)B | 40 | 7.6 10.8 14 | 2.11 3.0 3.89 | 61.4 60 58 | 37 | 2900 | 7.5 | 2.3 |
| 40-250(I)C | 40 | 7.1 10.0 13.1 | 1.97 2.78 3.64 | 53.2 52 50.4 | 36 | 2900 | 5.5 | 2.3 |
| 型号 | 口径 | 流量 | 扬程 | 效率 | 转速 | 电机功率 | 必需汽蚀余量 | |
| mm | m3/h | L/S | m | % | r/min | KW | (NPSH)r | |
| 50-100 | 50 | 8.8 12.5 16.3 | 2.44 3.47 4.53 | 13.6 12.5 11.3 | 55 62 60 | 2900 | 1.1 | 2.3 |
| 50-100A | 50 | 8 11 14.5 | 2.22 3.05 4.03 | 11 10 9 | 60 | 2900 | 0.75 | 2.3 |
| 50-125 | 50 | 8.8 12.5 16.3 | 2.44 3.47 4.53 | 21.5 20 17.8 | 49 58 57 | 2900 | 1.5 | 2.3 |
| 50-125A | 50 | 8 11 14.5 | 2.22 3.05 4.03 | 17 16 14 | 57 | 2900 | 1.1 | 2.3 |
| 50-160 | 50 | 8.8 12.5 16.3 | 2.44 3.47 4.53 | 33 32 30 | 45 52 51 | 2900 | 3 | 2.3 |
| 50-160A | 50 | 8.2 11.7 15.2 | 2.28 3.25 4.22 | 29 28 26 | 44 51 50 | 2900 | 2.2 | 2.3 |
| 50-160B | 50 | 7.3 10.4 13.5 | 2.38 2.89 3.75 | 23 22 20.5 | 50 | 2900 | 1.5 | 2.3 |
| 50-200 | 50 | 8.8 12.5 16.3 | 2.44 3.47 4.53 | 52 50 48 | 38 46 46 | 2900 | 5.5 | 2.3 |
| 50-200A | 50 | 8.3 11.7 15.3 | 2.31 3.25 4.25 | 45.8 44 42 | 37 45 45 | 2900 | 4 | 2.3 |
| 50-200B | 50 | 7.5 10.6 13.8 | 2.08 2.94 3.83 | 37 36 34 | 44 | 2900 | 3 | 2.3 |
| 50-250 | 50 | 8.8 12.5 16.3 | 2.44 3.47 4.53 | 82 80 77.5 | 29 38 40 | 2900 | 11 | 2.3 |
| 50-250A | 50 | 8.2 11.6 15.2 | 2.28 3.22 4.22 | 71.5 70 68 | 38 | 2900 | 7.5 | 2.3 |
| 50-250B | 50 | 7.6 10.8 14 | 2.11 3.0 3.89 | 61.4 60 58 | 37 | 2900 | 7.5 | 2.3 |
| 50-250C | 50 | 7.1 10.0 13.1 | 1.97 2.78 3.64 | 53.2 52 50.4 | 36 | 2900 | 5.5 | 2.3 |
| 型号 | 口径 | 流量 | 扬程 | 效率 | 转速 | 电机功率 | 必需汽蚀余量 | |
| mm | m3/h | L/S | m | % | r/min | KW | (NPSH)r | |
| 50-100(I) | 50 | 17.5 25 32.5 | 4.86 6.94 9.03 | 13.7 12.5 10.5 | 67 69 69 | 2900 | 1.5 | 2.5 |
| 50-100(I)A | 50 | 15.6 22.3 29 | 4.3 6.19 8.1 | 11 10 8.4 | 65 67 68 | 2900 | 1.1 | 2.5 |
| 50-125(I) | 50 | 17.5 25 32.5 | 4.86 6.94 9.03 | 21.5 20 18 | 60 68 67 | 2900 | 3 | 2.5 |
| 50-125(I)A | 50 | 15.6 22.3 29 | 4.33 6.19 8.1 | 17 16 13.6 | 58 66 65 | 2900 | 2.2 | 2.5 |
| 50-160(I) | 50 | 17.5 25 32.5 | 4.68 6.94 9.03 | 34.4 32 27.5 | 54 63 60 | 2900 | 4 | 2.5 |
| 50-160(I)A | 50 | 16.4 23.4 30.4 | 4.56 6.5 8.44 | 30 28 24 | 54 62 59 | 2900 | 4 | 2.5 |
| 50-160(I)B | 50 | 15.0 21.6 28 | 4.17 6.0 7.78 | 26 24 20.6 | 58 | 2900 | 3 | 2.5 |
| 50-200(I) | 50 | 17.5 25 32.5 | 4.86 6.94 9.03 | 52.7 50 45.5 | 49 58 59 | 2900 | 7.5 | 2.5 |
| 50-200(I)A | 50 | 16.4 23.5 30.5 | 4.56 6.53 8.47 | 46.4 44 40 | 48 57 58 | 2900 | 7.5 | 2.5 |
| 50-200(I)B | 50 | 15.2 21.8 28.3 | 4.22 6.06 7.86 | 40 38 34.5 | 55 | 2900 | 5.5 | 2.5 |
| 50-250(I) | 50 | 17.5 25 32.5 | 4.86 6.94 9.03 | 82 80 76.5 | 39 50 52 | 2900 | 15 | 2.5 |
| 50-250(I)A | 50 | 16.4 23.4 30.5 | 4.56 6.5 8.47 | 71.5 70 67 | 39 50 52 | 2900 | 11 | 2.5 |
| 50-250(I)B | 50 | 15 21.6 28 | 4.17 6.0 7.78 | 61 60 57.4 | 38 49 54 | 2900 | 11 | 2.5 |
| 50-315(I) | 50 | 17.5 25 32.5 | 4.86 6.94 9.03 | 128 125 122 | 30 40 44 | 2900 | 30 | 2.5 |
| 50-315(I)A | 50 | 16.6 23.7 31 | 4.61 6.58 8.6 | 115 113 110 | 30 40 44 | 2900 | 22 | 2.5 |
| 50-315(I)B | 50 | 15.7 22.5 29.2 | 4.36 6.25 8.0 | 103 101 98 | 39 | 2900 | 18.5 | 2.5 |
| 50-315(I)C | 50 | 14.4 20.6 26.8 | 4.0 5.72 7.44 | 86 85 83 | 38 | 2900 | 15 | 2.5 |
| 型号 | 口径 | 流量 | 扬程 | 效率 | 转速 | 电机功率 | 必需汽蚀余量 | |
| m3/h | L/S | m | % | r/min | KW | (NPSH)r | ||
| 65-100 | 65 | 17.5 25 32.5 | 4.86 6.94 9.03 | 13.7 12.5 10.5 | 67 69 69 | 2900 | 1.5 | 2.5 |
| 65-100A | 65 | 15.6 22.3 29 | 4.3 6.19 8.1 | 11 10 8.4 | 65 67 68 | 2900 | 1.1 | 2.5 |
| 65-125 | 65 | 17.5 25 32.5 | 4.86 6.94 9.03 | 21.5 20 18 | 60 68 67 | 2900 | 3 | 2.5 |
| 65-125A | 65 | 15.6 22.3 29 | 4.33 6.19 8.1 | 17 16 14.4 | 58 66 65 | 2900 | 2.2 | 2.5 |
| 65-160 | 65 | 17.5 25 32.5 | 4.86 6.94 9.03 | 34.4 32 27.5 | 54 63 60 | 2900 | 4 | 2.5 |
| 65-160A | 65 | 16.4 23.4 30.4 | 4.56 6.5 8.44 | 30 28 24 | 54 62 59 | 2900 | 4 | 2.5 |
| 65-160B | 65 | 15.0 21.6 28 | 4.17 6.0 7.78 | 26 24 20.6 | 58 | 2900 | 3 | 2.5 |
| 65-200 | 65 | 17.5 25 32.5 | 4.86 6.94 9.03 | 52.7 50 45.5 | 49 58 59 | 2900 | 7.5 | 2.5 |
| 65-200A | 65 | 16.4 23.5 30.5 | 4.56 6.53 8.47 | 46.4 44 40 | 48 57 58 | 2900 | 7.5 | 2.5 |
| 65-200B | 65 | 15.2 21.8 28.3 | 4.22 6.06 7.86 | 40 38 34.5 | 55 | 2900 | 5.5 | 2.5 |
| 65-250 | 65 | 17.5 25 32.5 | 4.86 6.94 9.03 | 82 80 76.5 | 39 50 52 | 2900 | 15 | 2.5 |
| 65-250A | 65 | 16.4 23.4 30.5 | 4.56 6.5 8.47 | 71.5 70 67 | 39 50 52 | 2900 | 11 | 2.5 |
| 65-250B | 65 | 15 21.6 28 | 4.17 6.0 7.78 | 61 60 57.4 | 38 49 54 | 2900 | 11 | 2.5 |
| 65-315 | 65 | 17.5 25 32.5 | 4.86 6.94 9.03 | 127 125 122 | 32 40 44 | 2900 | 30 | 2.5 |
| 65-315A | 65 | 16.6 23.7 31 | 4.61 6.58 8.6 | 115 113 110 | 32 40 44 | 2900 | 22 | 2.5 |
| 65-315B | 65 | 15.7 22.5 29.2 | 4.36 6.25 8.0 | 103 101 98 | 39 | 2900 | 18.5 | 2.5 |
| 65-315C | 65 | 14.4 20.6 26.8 | 4.0 5.72 7.44 | 86 85 83 | 38 | 2900 | 15 | 2.5 |
| 型号 | 口径 | 流量 | 扬程 | 效率 | 转速 | 电机功率 | 必需汽蚀余量 | |
| mm | m3/h | L/S | m | % | r/min | KW | (NPSH)r | |
| 65-100(I) | 65 | 35 50 65 | 9.72 13.9 18.1 | 13.8 12.5 10 | 67 73 70 | 2900 | 3 | 3.0 |
| 65-100(I)A | 65 | 31.3 44.7 58 | 8.7 12.4 16.1 | 11 10 8 | 66 72 69 | 2900 | 2.2 | 3.0 |
| 65-125(I) | 65 | 35 50 65 | 9.72 13.9 18.1 | 22 20 17 | 67 72.5 70 | 2900 | 5.5 | 3.0 |
| 65-125(I)A | 65 | 31.3 44.7 58 | 8.7 12.5 16.1 | 17.5 16 13.6 | 66 71 69 | 2900 | 4 | 3.0 |
| 65-160(I) | 65 | 35 50 65 | 9.72 13.9 18.1 | 35 32 28 | 63 71 70 | 2900 | 7.5 | 3.0 |
| 65-160(I)A | 65 | 32.7 46.7 61 | 9.1 13.0 16.9 | 30.6 28 24 | 62 70 69 | 2900 | 7.5 | 3.0 |
| 65-160(I)B | 65 | 30.3 43.3 56.3 | 8.4 12.0 15.6 | 26 24 21 | 69 | 2900 | 5.5 | 3.0 |
| 65-200(I) | 65 | 35 50 65 | 9.72 13.9 18.1 | 53.5 50 46 | 55 67 68 | 2900 | 15 | 3.0 |
| 65-200(I)A | 65 | 32.8 47 61 | 9.1 13.1 16.9 | 47 44 40 | 54 66 67 | 2900 | 11 | 3.0 |
| 65-200(I)B | 65 | 30.5 43.5 56.6 | 8.5 12.1 15.7 | 40.6 38 33.4 | 65 | 2900 | 7.5 | 3.0 |
| 65-250(I) | 65 | 35 50 65 | 9.72 13.9 18.1 | 83 80 72 | 52 59 60 | 2900 | 22 | 3.0 |
| 65-250(I)A | 65 | 32.5 46.7 61 | 9.0 13.0 16.9 | 73 70 63 | 52 59 60 | 2900 | 18.5 | 3.0 |
| 65-250(I)B | 65 | 30 43.3 56 | 8.3 12.0 15.6 | 62 60 54 | 58 | 2900 | 15 | 3.0 |
| 65-315(I) | 65 | 35 50 65 | 9.72 13.9 18.1 | 128 125 121 | 44 54 57 | 2900 | 37 | 3.0 |
| 65-315(I)A | 65 | 32.5 46.5 60.5 | 9.0 12.9 16.8 | 112.6 110 106.4 | 43 54 57 | 2900 | 30 | 3.0 |
| 65-315(I)B | 65 | 31 44.5 58 | 8.6 12.4 16.1 | 102.5 100 98 | 53 | 2900 | 30 | 3.0 |
| 65-315(I)C | 65 | 29 41 53.6 | 8.1 11.4 14.9 | 87 85 83 | 51 | 2900 | 22 | 3.0 |
| 型号 | 口径 | 流量 | 扬程 | 效率 | 转速 | 电机功率 | 必需汽蚀余量 | |
| mm | m3/h | L/S | m | % | r/min | KW | (NPSH)r | |
| 80-100 | 80 | 35 50 65 | 9.72 13.9 18.1 | 13.8 12.5 10 | 67 73 70 | 2900 | 3 | 3.0 |
| 80-100A | 80 | 31.3 44.7 58 | 8.7 12.5 16.1 | 11 10 8 | 66 72 69 | 2900 | 2.2 | 3.0 |
| 80-125 | 80 | 35 50 65 | 9.72 13.9 18.1 | 22 20 17 | 67 72.5 70 | 2900 | 5.5 | 3.0 |
| 80-125A | 80 | 31.3 45 58 | 8.7 12.5 16.1 | 17.5 16 13.6 | 66 71 69 | 2900 | 4 | 3.0 |
| 80-160 | 80 | 35 50 65 | 9.72 13.9 18.1 | 35 32 28 | 63 71 70 | 2900 | 7.5 | 3.0 |
| 80-160A | 80 | 32.7 46.7 61 | 9.1 13.0 16.9 | 30.6 28 24 | 62 70 69 | 2900 | 7.5 | 3.0 |
| 80-160B | 80 | 30.3 43.3 56.3 | 8.4 12.0 15.6 | 26 24 21 | 69 | 2900 | 5.5 | 3.0 |
| 80-200 | 80 | 35 50 65 | 9.72 13.9 18.1 | 53.5 50 46 | 55 67 68 | 2900 | 15 | 3.0 |
| 80-200A | 80 | 32.8 47 61 | 9.1 13.1 16.9 | 47 44 40 | 54 66 67 | 2900 | 11 | 3.0 |
| 80-200B | 80 | 30.5 43.5 56.6 | 8.5 12.1 15.7 | 40.6 38 33.4 | 65 | 2900 | 7.5 | 3.0 |
| 80-250 | 80 | 35 50 65 | 9.72 13.9 18.1 | 83 80 72 | 52 59 60 | 2900 | 22 | 3.0 |
| 80-250A | 80 | 32.5 46.7 61 | 9.0 13.0 16.9 | 73 70 63 | 52 59 60 | 2900 | 18.5 | 3.0 |
| 80-250B | 80 | 30 43.3 56 | 8.3 12.0 15.6 | 62 60 54 | 58 | 2900 | 15 | 3.0 |
| 80-315 | 80 | 35 50 65 | 9.72 13.9 18.1 | 128 125 122 | 43 54 57 | 2900 | 37 | 3.0 |
| 80-315A | 80 | 32.5 46.5 60.5 | 9.0 12.9 16.8 | 112.6 110 107.4 | 43 54 57 | 2900 | 30 | 3.0 |
| 80-315B | 80 | 31 44.5 58 | 8.6 12.4 16.1 | 102.5 100 98 | 53 | 2900 | 30 | 3.0 |
| 80-315C | 80 | 29 41 53.6 | 8.1 11.4 14.9 | 98 85 83 | 51 | 2900 | 22 | 3.0 |
| 80-350 | 80 | 35 50 65 | 9.72 13.9 18.1 | 146 150 142 | 55 66 67 | 2900 | 55 | 3.0 |
| 80-350A | 80 | 31 44.5 58 | 8.6 12.4 16.1 | 138.4 142 134.8 | 65 | 2900 | 45 | 3.0 |
| 80-350B | 80 | 29 41 53.6 | 8.1 11.4 14.9 | 131.4 135 127.8 | 63 | 2900 | 37 | 3.0 |
| 型号 | 口径 | 流量 | 扬程 | 效率 | 转速 | 电机功率 | 必需汽蚀余量 | |
| mm | m3/h | L/S | m | % | r/min | KW | (NPSH)r | |
| 80-100(I) | 80 | 70 100 130 | 19.4 27.8 36.1 | 13.6 12.5 11 | 66 76 75 | 2900 | 5.5 | 4.5 |
| 80-100(I)A | 80 | 62.6 89 116 | 17.4 24.7 32.2 | 11 10 8.8 | 64 74 74 | 2900 | 4 | 4.5 |
| 80-125(I) | 80 | 70 100 130 | 19.4 27.8 36.1 | 23.5 20 14 | 70 76 65 | 2900 | 11 | 4.5 |
| 80-125(I)A | 80 | 62.6 89 116 | 17.4 24.7 32.2 | 19 16 11 | 68 74 65 | 2900 | 7.5 | 4.5 |
| 80-160(I) | 80 | 70 100 130 | 19.4 27.8 36.1 | 36.5 32 24 | 70 76 65 | 2900 | 15 | 4.5 |
| 80-160(I)A | 80 | 65.4 93.5 121.6 | 18.2 26.0 33.8 | 32 28 21 | 68 74 67 | 2900 | 11 | 4.5 |
| 80-160(I)B | 80 | 60.6 86.6 112.5 | 16.8 24.1 31.3 | 72 24 18 | 72 | 2900 | 11 | 4.5 |
| 80-200(I) | 80 | 70 100 130 | 19.4 27.8 36.1 | 54 50 42 | 65 74 73 | 2900 | 22 | 4.0 |
| 80-200(I)A | 80 | 65.4 93.5 121.6 | 18.2 26.0 33.8 | 47.5 44 37 | 64 73 72 | 2900 | 18.5 | 4.0 |
| 80-200(I)B | 80 | 61 87 113 | 16.9 24.2 31.4 | 41 38 32 | 71 | 2900 | 15 | 4.0 |
| 80-250(I) | 80 | 70 100 130 | 19.4 27.8 36.1 | 87 80 68 | 62 69 68 | 2900 | 37 | 4.0 |
| 80-250(I)A | 80 | 65.4 93.5 121.6 | 18.2 26.0 33.8 | 76 70 59.5 | 61 68 67 | 2900 | 30 | 4.0 |
| 80-250(I)B | 80 | 61 87 113 | 16.9 24.2 31.4 | 65 60 51 | 66 | 2900 | 30 | 4.0 |
| 80-315(I) | 80 | 70 100 130 | 19.4 27.8 36.1 | 132 125 114 | 55 66 67 | 2900 | 75 | 4.0 |
| 80-315(I)A | 80 | 66.5 95 123.6 | 18.5 26.4 34.3 | 119 113 103 | 55 66 67 | 2900 | 55 | 4.0 |
| 80-315(I)B | 80 | 63 90 117 | 17.5 25 32.5 | 106.6 101 92 | 65 | 2900 | 45 | 4.0 |
| 80-315(I)C | 80 | 58 82 107 | 16.1 22.8 29.7 | 90 85 76 | 63 | 2900 | 37 | 4.0 |
| 型号 | 口径 | 流量 | 扬程 | 效率 | 转速 | 电机功率 | 必需汽蚀余量 | |
| mm | m3/h | L/S | m | % | r/min | KW | (NPSH)r | |
| 100-100 | 100 | 70 100 130 | 19.4 27.8 36.1 | 13.6 12.5 11 | 66 76 75 | 2900 | 5.5 | 4.5 |
| 100-100A | 100 | 62.6 89 116 | 17.4 47 32.2 | 11 10 8.8 | 64 74 74 | 2900 | 4 | 4.5 |
| 100-125 | 100 | 70 100 130 | 19.4 27.8 36.1 | 23.5 20 14 | 70 76 65 | 2900 | 11 | 4.5 |
| 100-125A | 100 | 62.6 89 116 | 17.4 24.7 32.2 | 19 16 11 | 68 74 63 | 2900 | 7.5 | 4.5 |
| 100-160 | 100 | 70 100 130 | 19.4 27.8 36.1 | 36.5 32 24 | 70 76 65 | 2900 | 15 | 4.5 |
| 100-160A | 100 | 65.4 93.5 121.6 | 18.2 26.0 33.8 | 32 28 21 | 68 74 67 | 2900 | 11 | 4.5 |
| 100-160B | 100 | 60.6 86.6 112.5 | 16.8 24.1 31.3 | 27 24 18 | 72 | 2900 | 11 | 4.5 |
| 100-200 | 100 | 70 100 130 | 19.4 27.8 36.1 | 54 50 42 | 65 74 73 | 2900 | 22 | 4.0 |
| 100-200A | 100 | 65.4 93.5 121.6 | 18.2 26.0 33.8 | 47.5 44 37 | 64 73 72 | 2900 | 18.5 | 4.0 |
| 100-200B | 100 | 61 87 113 | 16.9 24.2 31.4 | 41 38 32 | 71 | 2900 | 15 | 4.0 |
| 100-250 | 100 | 70 100 130 | 19.4 27.8 36.1 | 37 80 68 | 62 69 68 | 2900 | 37 | 4.0 |
| 100-250A | 100 | 65.4 93.5 121.6 | 18.2 26.0 33.8 | 76 70 59.5 | 61 68 67 | 2900 | 30 | 4.0 |
| 100-250B | 100 | 61 87 113 | 16.9 24.2 31.4 | 65 60 51 | 66 | 2900 | 30 | 4.0 |
| 100-315 | 100 | 70 100 130 | 19.4 27.8 36.1 | 132 125 114 | 55 66 67 | 2900 | 75 | 4.0 |
| 100-315A | 100 | 66.5 95 123.6 | 18.5 26.4 34.3 | 119 113 103 | 65 66 67 | 2900 | 55 | 4.0 |
| 100-315B | 100 | 63 90 117 | 17.5 25 32.5 | 106.6 101 92 | 65 | 2900 | 45 | 4.0 |
| 100-315C | 100 | 58 82 107 | 16.1 22.8 29.7 | 90 85 76 | 63 | 2900 | 37 | 4.0 |
| 型号 | 口径 | 流量 | 扬程 | 效率 | 转速 | 电机功率 | 必需汽蚀余量 | |
| mm | m3/h | L/S | m | % | r/min | KW | (NPSH)r | |
| 100-100(I) | 100 | 96 160 192 | 26.7 44.4 53.3 | 14 12.5 10 | 64 73 70 | 2900 | 11 | 4.5 |
| 100-125(I) | 100 | 96 160 192 | 26.7 44.4 53.3 | 24 20 14 | 62 74 69 | 2900 | 15 | 4.5 |
| 100-125(I)A | 100 | 84 140 168 | 23.3 39 46.7 | 20 17 12 | 64 72 68 | 2900 | 11 | 4.5 |
| 100-160(I) | 100 | 96 160 192 | 26.7 44.4 53.3 | 36 32 27 | 69 79 75 | 2900 | 22 | 5.6 |
| 100-160(I)A | 100 | 84 140 168 | 23.3 39 46.7 | 32 28 23.5 | 66 76 72 | 2900 | 18.5 | 5.0 |
| 100-200(I) | 100 | 96 160 192 | 26.7 44.4 53.3 | 53 50 45 | 69 79 78 | 2900 | 37 | 5.2 |
| 100-200(I)A | 100 | 84 140 168 | 23.3 39 46.7 | 48 45 40 | 64 74 73 | 2900 | 30 | 4.5 |
| 100-200(I)B | 100 | 60 100 120 | 16.7 27.8 33.3 | 43 40 36 | 72 | 2900 | 22 | 4.5 |
| 100-250(I) | 100 | 96 160 192 | 26.7 44.4 53.3 | 83 80 72 | 65 77 74 | 2900 | 55 | 4.8 |
| 100-250(I)A | 100 | 84 140 168 | 23.3 39 46.7 | 75 72 65 | 60 72 69 | 2900 | 45 | 4.5 |
| 100-250(I)B | 100 | 60 100 120 | 16.7 27.8 33.3 | 68 65 58 | 70 | 2900 | 37 | 4.5 |
| 100-350 | 100 | 60 100 120 | 16.7 27.8 33.3 | 153.6 150 142 | 72 57 74 | 2900 | 90 | 4.0 |
| 100-350A | 100 | 61 87 113 | 16.9 24.2 31.4 | 145.6 142 134 | 75 | 2900 | 75 | 4.0 |
| 100-350B | 100 | 58 82 107 | 16.1 22.8 29.7 | 138.6 135 127 | 75 | 2900 | 55 | 4.0 |
| 型号 | 口径 | 流量 | 扬程 | 效率 | 转速 | 电机功率 | 必需汽蚀余量 | |
| mm | m3/h | L/S | m | % | r/min | KW | (NPSH)r | |
| 125-100 | 125 | 96 160 192 | 26.7 44.4 53.3 | 13 12.5 12 | 82 | 2900 | 11 | 4.0 |
| 125-100A | 125 | 86 143 172 | 23.9 39.7 47.8 | 10.4 10 9.6 | 77 | 2900 | 7.5 | 4.0 |
| 125-125 | 125 | 96 160 192 | 26.7 44.4 53.3 | 22.6 20 17 | 80 | 2900 | 15 | 4.0 |
| 125-125A | 125 | 86 143 172 | 23.9 39.7 47.8 | 18 16 13.6 | 77 | 2900 | 11 | 4.0 |
| 125-160 | 125 | 96 160 192 | 26.7 44.4 53.3 | 36 32 28 | 78 | 2900 | 22 | 4.0 |
| 125-160A | 125 | 90 150 180 | 25 41.7 50 | 31.5 28 24.5 | 76 | 2900 | 18.5 | 4.0 |
| 125-160B | 125 | 83 138 166 | 21.7 38.3 46.1 | 27 24 21 | 73 | 2900 | 15 | 4.0 |
| 125-200 | 125 | 96 160 192 | 26.7 44.4 53.3 | 55 50 46 | 77 | 2900 | 37 | 5.5 |
| 125-200A | 125 | 90 150 180 | 25 41.7 50 | 48.4 44 40.5 | 76 | 2900 | 30 | 5.5 |
| 125-200B | 125 | 83 138 166 | 21.7 38.3 46.1 | 41.3 37.5 34.5 | 75 | 2900 | 22 | 5.5 |
| 125-250 | 125 | 96 160 192 | 26.7 44.4 53.3 | 87 80 73 | 75 | 2900 | 55 | 5.0 |
| 125-250A | 125 | 90 150 180 | 25 41.7 50 | 76 70 84 | 74 | 2900 | 45 | 5.5 |
| 125-250B | 125 | 83 138 166 | 21.7 38.3 46.1 | 65 60 55 | 73 | 2900 | 37 | 5.5 |
| 125-315 | 125 | 96 160 192 | 26.7 44.7 53.3 | 133 125 119 | 70 | 2900 | 90 | 5.0 |
| 125-315A | 125 | 90 150 180 | 25 41.7 50 | 117 110 104.6 | 70 | 2900 | 75 | 5.0 |
| 125-315B | 125 | 86 143 172 | 23.9 39.7 47.8 | 106.4 100 95.2 | 69 | 2900 | 75 | 5.0 |
| 125-315C | 125 | 80.5 134 161 | 22.4 37.2 44.7 | 96 88 86 | 67 | 2900 | 55 | 5.0 |
| 型号 | 口径 | 流量 | 扬程 | 效率 | 转速 | 电机功率 | 必需汽蚀余量 | |
| mm | m3/h | L/S | m | % | r/min | KW | (NPSH)r | |
| 150-125 | 150 | 96 160 192 | 26.7 44.4 53.3 | 22.6 24 17 | 66 76 76 | 2900 | 11 | 4.0 |
| 150-125A | 150 | 90 150 180 | 25 41.7 50 | 18 16 13.6 | 77 | 2900 | 7.5 | 4.0 |
| 150-160 | 150 | 96 160 192 | 26.7 44.4 53.3 | 36 32 27 | 75 | 2900 | 22 | 4.0 |
| 150-160A | 150 | 90 150 180 | 25 41.7 50 | 32 28 23.5 | 76 | 2900 | 18.5 | 4.0 |
| 150-160B | 150 | 84 140 168 | 23.3 39 46.7 | 27 24 21 | 73 | 2900 | 15 | 4.0 |
| 150-200 | 150 | 140 200 260 | 38.9 55.6 72.2 | 13.8 12.5 10.6 | 68 78 78 | 1450 | 15 | 3.0 |
| 150-200A | 150 | 125 176 232.5 | 34.7 49.7 64.6 | 11 10 8.5 | 66 76 76 | 1450 | 11 | 3.0 |
| 150-200B | 150 | 84 140 168 | 23.3 39 46.7 | 41 38 34 | 75 | 2900 | 22 | 4.0 |
| 150-250 | 150 | 140 200 260 | 38.9 55.6 72.2 | 21.8 20 17 | 73 79 77 | 1450 | 18.5 | 3.0 |
| 150-250A | 150 | 129 184.4 240 | 35.8 51.2 66.7 | 18.5 17 14.4 | 72 78 76 | 1450 | 15 | 3.0 |
| 150-250B | 150 | 117 167 217.5 | 32.5 46.4 60.4 | 15.2 14 12 | 76 | 1450 | 11 | 3.0 |
| 150-315 | 150 | 140 200 260 | 38.9 55.6 72.2 | 33.8 32 28 | 70 78 73 | 1450 | 30 | 2.5 |
| 150-315A | 150 | 131 187 243 | 36.4 51.9 67.5 | 29.5 28 24.5 | 69 77 77 | 1450 | 22 | 3.5 |
| 150-315B | 150 | 121 173 225 | 33.5 48.1 62.5 | 25 24 21 | 76 | 1450 | 18.5 | 3.5 |
| 150-350 | 150 | 96 160 192 | 26.7 44.4 53.3 | 153.6 150 142.8 | 80 | 2900 | 110 | 5.5 |
| 150-350A | 150 | 90 150 180 | 25 41.7 50 | 145.6 142 134.8 | 70 | 2900 | 90 | 5.2 |
| 150-350B | 150 | 84 140 168 | 23.3 39 46.7 | 138.6 135 127.8 | 65 76 74 | 2900 | 75 | 5.5 |
| 150-400 | 150 | 140 200 260 | 38.9 55.6 72.2 | 53 50 44 | 68 75 71 | 1450 | 45 | 3.5 |
| 150-400A | 150 | 131 187 243 | 36.4 51.9 67.5 | 46.6 44 38.3 | 67 74 70 | 1450 | 37 | 3.5 |
| 150-400B | 150 | 122 174 226.5 | 33.9 48.3 62.9 | 40 38 33 | 73 | 1450 | 30 | 3.5 |
| 150-400C | 150 | 112 160 208 | 31.1 44.4 57.8 | 34 32 28 | 71 | 1450 | 22 | 3.5 |
| 型号 | 口径 | 流量 | 扬程 | 效率 | 转速 | 电机功率 | 必需汽蚀余量 | |
| mm | m3/h | L/S | m | % | r/min | KW | (NPSH)r | |
| 150-250(I) | 150 | 120 200 240 | 33.3 55.6 66.7 | 87 80 72 | 65 76 74 | 2900 | 75 | 4.5 |
| 150-250(I)A | 150 | 112 187 224 | 31.1 51.9 62.2 | 76 70 63 | 64 75 73 | 2900 | 55 | 4.5 |
| 150-250(I)B | 150 | 104 173 208 | 28.9 48.1 57.8 | 65 60 54 | 63 74 72 | 2900 | 45 | 4.5 |
| 150-315(I) | 150 | 120 200 240 | 33.3 55.6 66.7 | 133 125 120 | 58 73 75 | 2900 | 110 | 4.5 |
| 150-315(I)A | 150 | 112 187 224 | 31.1 51.9 62.2 | 116 110 105 | 57 72 74 | 2900 | 90 | 4.5 |
| 150-315(I)B | 150 | 104 173 208 | 28.9 48.1 57.8 | 100 95 91 | 55 70 72 | 2900 | 75 | 4.5 |
| 型号 | 口径 | 流量 | 扬程 | 效率 | 转速 | 电机功率 | 必需汽蚀余量 | |
| mm | m3/h | L/S | m | % | r/min | KW | (NPSH)r | |
| 200-200 | 200 | 140 200 260 | 38.9 55.6 72.2 | 13.8 12.5 10.6 | 68 78 78 | 1450 | 15 | 3.0 |
| 200-200A | 200 | 125 179 232.5 | 34.7 49.7 64.6 | 11 10 8.5 | 66 76 76 | 1450 | 11 | 3.0 |
| 200-250 | 200 | 140 200 260 | 21.8 20 17 | 21.8 20 17 | 73 79 77 | 1450 | 18.5 | 3.0 |
| 200-250A | 200 | 129 184.4 240 | 18.5 17 14.4 | 18.5 17 14.4 | 72 78 76 | 1450 | 15 | 3.0 |
| 200-250B | 200 | 117 167 217.5 | 15.2 14 12 | 15.2 14 12 | 76 | 1450 | 11 | 3.0 |
| 200-315 | 200 | 140 200 260 | 33.8 32 28 | 33.8 32 28 | 70 78 78 | 1450 | 30 | 3.5 |
| 200-315A | 200 | 131 189 243 | 29.5 28 24.5 | 29.5 28 24.5 | 69 77 77 | 1450 | 22 | 3.5 |
| 200-315B | 200 | 121 173 225 | 25 24 21 | 25 24 21 | 76 | 1450 | 18.5 | 3.5 |
| 200-400 | 200 | 140 200 260 | 53 50 44 | 53 50 44 | 68 75 71 | 1450 | 45 | 3.5 |
| 200-400A | 200 | 131 187 243 | 46.6 44 38.3 | 46.6 44 38.3 | 67 74 70 | 1450 | 37 | 3.5 |
| 200-400B | 200 | 122 174 226.5 | 40 38 33 | 40 38 33 | 73 | 1450 | 30 | 3.5 |
| 200-400C | 200 | 112 160 208 | 34 32 28 | 34 32 28 | 71 | 1450 | 22 | 3.5 |
| 型号 | 口径 | 流量 | 扬程 | 效率 | 转速 | 电机功率 | 必需汽蚀余量 | |
| mm | m3/h | L/S | m | % | r/min | KW | (NPSH)r | |
| 200-200(I) | 200 | 280 400 520 | 77.8 111.1 144 | 13.4 12.5 10.5 | 70 80 79 | 1450 | 22 | 4.0 |
| 200-200(I)A | 200 | 250 358 465 | 69.4 90.4 129.2 | 10.7 10 8.5 | 68 73 77 | 1450 | 18.5 | 4.0 |
| 200-250(I) | 200 | 280 400 520 | 77.8 111.1 144 | 22.2 20 14 | 75 80 72 | 1450 | 30 | 4.0 |
| 200-250(I)A | 200 | 250 358 465 | 69.4 99.4 129.2 | 18 16 11.2 | 73 78 70 | 1450 | 22 | 4.0 |
| 200-250(I)B | 200 | 226 322 419 | 62.8 89.4 116.4 | 14.4 13 7.3 | 70 75 67 | 1450 | 18.5 | 4.0 |
| 200-315(I) | 200 | 280 400 520 | 77.8 111.4 144 | 36 32 26 | 73 80 75 | 1450 | 55 | 4.0 |
| 200-315(I)A | 200 | 262 374 486 | 72.8 103.9 135 | 31.5 28 23 | 72 79 74 | 1450 | 45 | 4.0 |
| 200-315(I)B | 200 | 242 346 450 | 67.3 96.1 125 | 27 24 19.5 | 78 | 1450 | 37 | 4.0 |
| 200-400(I) | 200 | 280 400 520 | 77.8 111.4 144 | 54.5 50 39 | 75 81 77 | 1450 | 75 | 4.0 |
| 200-400(I)A | 200 | 262 374 486 | 72.8 103.9 135 | 48 44 34 | 80 | 1450 | 75 | 4.0 |
| 200-400(I)B | 200 | 242 346 450 | 67.2 96.1 125 | 41.4 38 29.6 | 78 | 1450 | 55 | 5.0 |
| 200-400(I)C | 200 | 224 320 416 | 62.2 88.9 115.6 | 34.9 32 25 | 76 | 1450 | 45 | 5.0 |
| 型号 | 口径 | 流量 | 扬程 | 效率 | 转速 | 电机功率 | 必需汽蚀余量 | |
| mm | m3/h | L/S | m | % | r/min | KW | (NPSH)r | |
| 250-250 | 250 | 350 550 650 | 97.2 152.8 180.5 | 22 20 16 | 78 82 81 | 1450 | 45 | 5.0 |
| 250-250A | 250 | 300 500 600 | 83.3 139 166.7 | 18.3 17 14 | 76 80 80 | 1450 | 37 | 5.0 |
| 250-235 | 250 | 300 500 600 | 83.3 139 166.7 | 14 12.5 11 | 73 78 70 | 1480 | 22 | 4.5 |
| 250-300 | 250 | 300 500 600 | 83.3 139 166.7 | 22 20 16 | 78 | 1480 | 37 | 4.5 |
| 250-315 | 250 | 350 550 650 | 97.2 152.8 180.5 | 34 32 28 | 76 80 79 | 1450 | 75 | 5.5 |
| 250-315A | 250 | 300 500 600 | 83.3 139 166.7 | 29.5 28 24 | 74 78 77 | 1450 | 55 | 5.5 |
| 250-315B | 250 | 260 450 520 | 72.2 125 144.4 | 25 24 20 | 70 74 72 | 1450 | 45 | 5.5 |
| 250-400 | 250 | 300 500 600 | 83.3 139 166.7 | 54.5 50 39 | 72 | 1480 | 90 | 4.5 |
| 型号 | 口径 | 流量 | 扬程 | 效率 | 转速 | 电机功率 | 必需汽蚀余量 | |
| mm | m3/h | L/S | m | % | r/min | KW | (NPSH)r | |
| 300-235 | 300 | 480 720 900 | 133.3 200 250 | 20 18 15.5 | 77 81 74 | 970 | 55 | 5.0 |
| 300-235A | 300 | 438 607 821 | 121.7 182.5 228.1 | 16.5 15 13 | 75 79 72 | 970 | 45 | 5.0 |
| 300-235B | 300 | 400 600 750 | 111.1 167.0 208.3 | 14 12.5 11 | 73 77 70 | 970 | 37 | 5.0 |
| 300-300 | 300 | 480 720 900 | 133.3 200 250 | 31 28 25 | 77 81 77 | 970 | 75 | 5.0 |
| 300-300A | 300 | 444 666 833 | 123.3 185 231.4 | 26.5 24 21.5 | 76 80 76 | 970 | 75 | 5.0 |
| 300-300B | 300 | 415 623 779 | 115.3 173.1 261.4 | 23 21 18.5 | 79 | 970 | 55 | 5.0 |
| 300-380 | 300 | 480 720 900 | 133.3 200 250 | 48 44 34 | 84 | 970 | 132 | 5.0 |
| 300-380A | 300 | 444 666 833 | 123.3 185 231.4 | 41.4 38 30 | 80 | 970 | 110 | 5.0 |
| 300-380B | 300 | 409 614 767 | 113.6 170.6 213.1 | 35 32 25 | 78 | 970 | 90 | 5.0 |
| 300-235(I) | 300 | 718 1080 1345 | 199.4 300 373.6 | 44.6 40 34.6 | 82 | 1450 | 160 | 5.5 |
| 300-235(I)A | 300 | 642 965 1203 | 178.3 268.1 334.2 | 35.7 32 27.7 | 80 | 1450 | 132 | 5.5 |
上一条:PBG型屏蔽式管道泵
下一条:管道泵系列
相关信息
联系我们
上海正精给排水设备有限公司
销售电话:
021-69130933 / 18818013639技术咨询:
13567724900企业邮箱
171044863@qq.com在线留言
售前客服,为您提供产品报价,实体工厂更多让利给客户,售后为您解决使用中遇到的问题